您当前的位置:公告 正文

【培训计划】2023年2-3月自主操作培训安排--分析测试中心

发稿时间:2023-02-24 11:15:34

   为提升我校师生分析测试技术水平,充分开发仪器设备功能,培养学生自主上机操作能力,大型仪器设备共享实验中心(分析测试中心)本学期继续面向全校师生开展用户自主操作培训。   

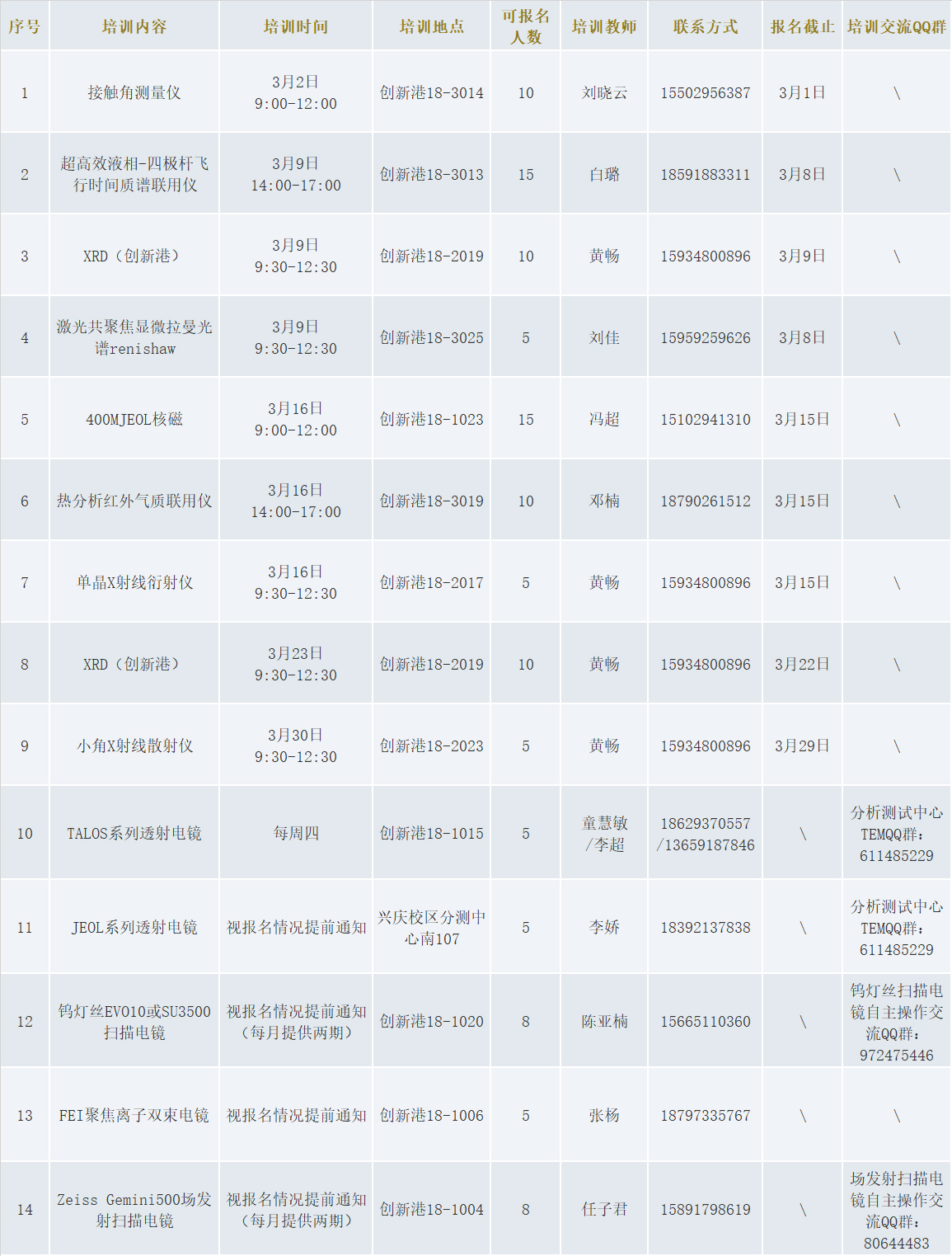
   相关理论及演示培训计划安排如下:

未标题-4.jpg

   报名方式:凡报名参加相应培训人员需取得《实验室安全考试合格证》,并在培训开始前凭《分析测试中心用户操作技能培训报名表》至培训负责人处报名。

   报名表:http://equip.xjtu.edu.cn/home/data/upload/ueditor/20230224/63f82c001be1e.gif分析测试中心用户操作技能培训报名表.docx 


Copyright2016. 西安交通大学大型仪器设备物联共享系统. All Right Reserved  基理科技 运维支持